2月6日,山東省第十三屆人民代表大會第五次會議閉幕。至此,除河北和黑龍江之外,全國各省市自治區2020年經濟成績單全部出爐,粵蘇魯三省經濟總量繼續領跑全國,繼續名列中國經濟“錢三強”。
牛年新春佳節,我們梳理了一下粵蘇魯三省的政府工作報告,看看“錢三強”究竟有多強?也看看新的一年里,“錢三強”各有什么小目標?

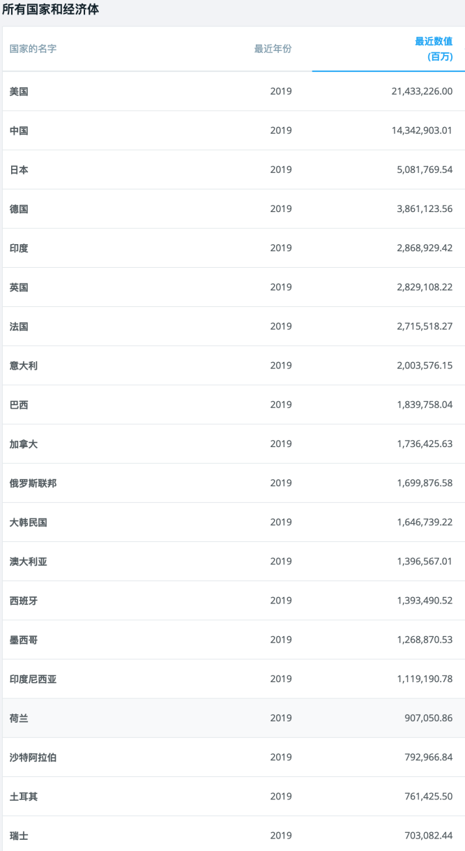
數據來源:世界銀行網站

數據來源:澳大利亞儲備銀行網站
“錢三強”,有多強?
2020年,廣東省地區生產總值超過11萬億元,連續32年領跑全國,增速2.3%。江蘇省經濟總量首次跨過10萬億門檻,達到10.27萬億元,但增速高于廣東,達到3.7%。山東省以7.3萬億的總量繼續名列第三,增速3.6%。
按照GDP數據和2020全年人民幣平均匯率計算,廣東省地區生產總值約合1.61萬億美元,江蘇省約合1.49萬億美元,山東省1.06萬億美元。如果我們將這三個省的經濟總量拿出來,與全球各國經濟體進行排名對比,或許對“富可敵國”一詞就會有更清晰的了解。
根據世界銀行數據,在2019年全球所有國家和經濟體的GDP排名中,韓國以近1.65萬億美元排名全球第12,澳大利亞近1.4萬億美元排名第13。由于受到2020年新冠肺炎疫情等因素對世界各國經濟社會發展帶來的不利影響,除中國之外的世界各主要經濟體經濟均出現負增長。
韓國中央銀行近期發布報告稱,經初步核算,2020年韓國GDP增長率為-1%,由此可以推算,今年其經濟總量約為1.63萬億美元。而據澳大利亞央行今年2月剛剛發布的數據稱,2020年經濟總量下降約3.8%。因此,廣東的經濟總量能排在全球第13位,但與韓國的差距已經是伯仲之間;江蘇緊隨廣東位居第14;山東則以微弱差距排在印尼之后,位列荷蘭、沙特、土耳其、瑞士等國家之前,排名第19(排名含廣東、江蘇)。
如果將廣東、江蘇、山東三省的經濟總量加在一起,達到4.16萬億美元,就會超越德國,居世界第4。
“錢三強”,真的強!

廣州塔,展示著廣州城市新高度。(央廣網發)

數據來源:各地統計局或政府工作報告
“錢三強”,哪里強?
廣東、江蘇、山東三省經濟總量長期位于全國前三甲并且名次相對穩定,但是在分項上卻并不是一家獨大。

廣州珠江新城遠眺。(央廣網發)
廣東強在體量大。廣東GDP總量已經連續32年領跑全國,這些年人們一直好奇一個問題:江蘇有沒有機會超越廣東?雖然近年來,江蘇也曾有機會“彎道超車”,但是廣東通過轉型升級、供給側改革、高質量發展等一系列措施,強優勢,補短板,最終還是鞏固了領先地位。以2020年的數據來看,廣東超過江蘇8000多億元,“領先一個身位”,優勢明顯。打個極端的比方,即使廣東2021年經濟增速為零,江蘇也需要保持8%的GDP年增速才能趕上廣東,顯然這種情況發生的概率基本不存在。至于經濟總量7.3萬億的山東,顯然與廣東和江蘇的差距不小,離10萬億的門檻距離尚遠。由此可見,近幾年,中國經濟“錢三強”的座次應該不會有大的變化。
江蘇強在人均GDP。2020年,江蘇省人均GDP12.5萬元,高于廣東的9.4萬元,更高于山東的7.3萬元,江蘇已經是連續12年人均GDP全國第一。人均GDP,是經濟發展質量的一個重要指標,可見,這些年江蘇經濟的發展質量是有優勢的。這些年廣東人口呈持續流入態勢,以2019年為例,廣東流入人口175萬人,大大多于江蘇的19.3萬人,也多于山東的23.01萬人。從人口基數上看,廣東的人口基數全國第一,比江蘇多3000萬左右,比山東多1500萬人左右,這當然會拉低人均GDP,但人口基數大,尤其是年輕人口增量大,未來廣東經濟發展的勞動力潛力將遠遠大于江蘇、山東。
山東則強在工業基礎。山東是全國工業門類最全的省份,擁有聯合國分類的全部41個工業大類,這在全國是獨一份。但是,由于這些工業門類的傳統產業占比較高,歷史包袱重,一定程度上拖累了山東經濟,2018年和2019年,山東經濟增速都沒能達到全國平均水平。通過新舊動能轉換,2020年山東經濟增速達到3.6%,不僅跑贏全國,而且也以較大幅度領先廣東2.3%的增速,比江蘇僅略低0.1個百分點。
2020年是極為特殊的一年,新冠肺炎疫情沖擊、全球經濟受挫、中美經貿摩擦持續等多重因素疊加,中國經濟“錢三強”都在上半年出現大幅下滑,但最終實現“V”型反轉,起到了中國經濟“定海神針”的作用。2020年,中國經濟正增長,“錢三強”功不可沒!
“錢三強”,韌性強!
“錢三強”,牛年怎么干?
雖然,粵蘇魯三省已經“富可敵國”,但是從今年的政府工作報告中,我們能讀出各自面臨的困難和挑戰,也讀出了各自的發展思路。
廣東省政府今年的工作報告表示,“實現高質量發展、解決發展不平衡不充分問題仍然面臨不少困難和挑戰:外部環境不穩定不確定因素較多,經濟發展形勢依然復雜嚴峻;區域發展不平衡、城鄉發展差距較大仍然是我省最大的短板,粵東粵西粵北地區內生發展動力有待進一步增強;關鍵核心技術“卡脖子”問題依然突出,產業鏈供應鏈自主可控水平還不夠高;生態環境質量全面改善的基礎尚不牢固,資源要素約束進一步趨緊;重點領域改革還需深化,改革的系統性協同性仍需加強;教育、醫療、養老等民生保障還有短板,公共服務水平有待提升;一些領域存在風險隱患,統籌發展和安全任務艱巨。”
江蘇省在今年的政府工作報告寫到:“我省發展困難和挑戰依然較多,主要是:科技自主創新能力亟待提升,外資外貿穩中提質壓力較大,部分行業和企業仍然比較困難,經濟、金融、科技、安全生產等領域仍有不少風險隱患,資源環境約束趨緊,污染防治任務繁重,民生領域還有不少短板,構建新發展格局存在許多阻點、斷點、難點,政府工作中形式主義、官僚主義仍不同程度存在,政府工作人員的能力水平存在不少差距,政府治理效能仍需進一步提高,等等。”
山東省政府工作報告中稱:“我省發展正處于轉型升級的緊要關口,發展不平衡不充分問題仍然比較突出:結構調整任務艱巨,傳統產業和重化工業占比較高,‘四新’經濟比重偏低;創新支撐力不強,企業創新活力不足,高層次人才匱乏,創新投入產出比不高,科技創新能力不適應高質量發展要求;重點改革亟待突破,有效制度供給還不到位,流程還不夠優化,要素市場化配置等領域還有體制機制障礙;資源環境約束趨緊,能耗、土地、環境容量制約凸顯,實現綠色低碳發展任重道遠;民生領域存在短板,城鄉區域發展不平衡,社會治理還有弱項。政府工作中,形式主義、官僚主義還不同程度存在。我們既要堅定發展信心,更要增強憂患意識,在全國大局中找準定位和優勢,奮力在高質量發展上蹚出一條新路。”
可以看出,三個省既面臨發展不平衡、科技創新能力不足、環保壓力大、民生領域有短板等共性問題,又有產業結構調整、市場化改革等個性問題。只有直面問題,才能解決問題。針對不同的問題,三省也提出了切實可行的舉措,從2021年開始,將在“十四五”期間將其各個擊破,逐一解決。
引人注目的是,三個省都提到了科技創新,都將針對問題精準施策,但表述各有不同。廣東突出提到了“關鍵核心技術‘卡脖子’問題,和產業鏈供應鏈自主可控的問題”;江蘇的表述是“科技自主創新能力亟待提升”;山東則認為“創新支撐力不強”。比較三個省的提法,顯然廣東的站位更高,確實有胸懷全局的境界,體現了一個經濟領頭羊的擔當,這倒也符合廣東的科技發展現狀。廣東省政府工作報告的表述是:“區域創新綜合能力保持全國第一”“有效發明專利量、PCT國際專利申請量居全國首位”。可見,廣東瞄準“卡脖子”技術和產業供應鏈的自主可控,還是有科技實力做底氣的。
“錢三強”,會更強!
今年,是“十四五”的開局之年,廣東、江蘇、山東今年不約而同地將地區生產總值增長目標確定為6%。也許我們能從山東省的工作報告中,看出設定這一目標的考量因素:“之所以確定6%以上的經濟增長目標,主要基于以下考慮:一是,有利于妥善應對疫情和外部環境的不確定性,留有余地,穩扎穩打;二是,有利于引導各地把提高質量效益放在更加突出位置,用好寶貴時間窗口,集中精力解決歷史遺留問題,推進改革創新和高質量發展;三是,有利于讓發展潛力逐步釋放,既能為‘十四五’開局打好基礎,也能為今后持續發展創造條件;四是,有利于求真務實、真抓實干,沉下心來抓落實,努力實現有質量、有效益、沒有水分的增長。”
處在“兩個一百年”歷史交匯點上,既要有時不我待的緊迫感,還需要求真務實的工作態度。對照已公布2021年的GDP增長目標的29個省區市相關數據,總量緊隨山東的浙江將目標分別定為6.5%,河南、四川目標為7%,福建7.5%,去年受疫情影響尤為嚴重的湖北省更將目標定在10%。可以預見,2021年是全國各省區市更加卯足干勁奮起直追,補上受疫情沖擊損失的一年,你追我趕之勢必將更為激烈。在“錢三強”的背后,追趕者的步伐正不斷提速。

2021年29省區GDP增速目標。(數據來源:各地政府工作報告)
新征程期待新作為。“錢三強”一定會發揮自身優勢,在危機中育先機、于變局中開新局,繼續當好中國經濟發展的領頭羊。
2021值得期待,好戲在后頭!(央廣評論員彭小毛 許大為)

